一、高平台气动球阀 产品概述
上海川沪阀门有限公司生产的高平台气动球阀重要的特点是免支架安装,阀体和支架一体式铸造、加工、成型,可以便捷的和气动执行器直接安装,由于是免支架设计,阀体和气缸安装非常紧凑、占用空间小、更换放方便。其中和气动执行机构组合后,能实现快速开闭(配电磁阀和限位开关)或调节流量大小(配阀门定位器)。
型号:CHQ641F、CHQ641PPL、CHQ641H
特点:
1、流体阻力小、球阀是所有阀类中流体阻力小的一种,即使是缩径球阀,其流体阻力也相当小。
2、止推轴承减小阀杆磨擦力矩,可使阀杆长期操作平稳灵活。
3、阀座密封性能好,采用聚四氟乙烯等弹性材料制成的密封圈,结构易于密封,而且球阀的阀封能力随着介质压力的增高而增大。
4、阀杆密封可靠,由于阀杆只作彷转动运而不做升降运动,阀杆的填料密封不易破坏,且密封能力随着介质的压力增高而增大。
5、由于聚四氟乙烯等材料具有良好的自润滑性,与球体的磨擦损失小,故球阀的使用寿命长。
6、下装式阀杆和阀杆头部凸阶防止阀杆喷出,如火灾造成阀杆密封破坏,凸阶与阀体间还可形成金属接触,确保阀杆密封。
适用场景:
高平台气动球阀广泛应用于石油、化工、教学设备、轻工、高压设备、制药、造纸等工业自动控制系统中,作远距离集中控制或就地控制。
二、高平台气动球阀 产品图片
|
|
| 高平台气动球阀(不锈钢阀体) | 高平台气动球阀(铸钢阀体) |
三、高平台气动球阀 零部件材料
 | 序号 | 零部件 | 材质 |
|---|
| 1 | NUT | SUS304 |
| 2 | CAP | CF6M | CF8 |
| 3 | CAP GASKET | PTFE | R-PTFE |
| 4 | BALL SEAT | PTFE | R-PTFE |
| S | 8ALL | SUS316 | SUS304 |
| 6 | THRUST WASHER | PTFE | R-PTFE |
| 7 | ORING | VITON |
| e | STEM PACKING | PTFE |
| 9 | GLAND | SUS304 |
| 10 | BELLEVILLE WASHER | SUS304 |
| 11 | STOP NUT | SUS304 |
| 12 | NUTCAP | SUS304 |
| 13 | LOCKING PIN | SUS304 |
| 14 | WASHER | SUS304 |
| 15 | STEM NUT | SUS304 |
| 16 | HANDLE | SUS304 |
| 17 | HANDLE COVER | PLASTIC |
| 18 | STEM | SUS316 | SUS304 |
19 | ANTISTATIC | SUS304 |
| 20 | BODY | CF6M | CF8 |
| 21 | BOLT | SUS304 |
四、高平台气动球阀 技术参数
| 公称通径(mm) | 15 | 20 | 25 | 32 | 40 | 50 | 65 | 80 | 100 | 125 | 150 | 200 | 250 | 300 |
|---|
| 流量系数Kv | 21 | 38 | 72 | 112 | 170 | 273 | 384 | 512 | 940 | 1452 | 2222 | 3589 | 5128 | 7359 |
| 公称压力(MPa) | PN1.6、2.5、4.0、6.4MPa |
| 泄漏量 | 软密封:零泄漏;硬密封:≤额定流量的10-5 |
| 阀体形式 | 两段式阀体(浮动球体) | 两段式阀体(固定球体) |
| 阀芯形式 | "O"型球形阀芯 |
| 密封填料 | 聚四氟乙烯(PTFE)、金属石墨缠绕垫片 |
| 连接形式 | 法兰、焊接、螺纹 |
| 流量特性 | 快开特性 |
| 可调范围 | DN15-65 | DN80-300 |
| 250:1 | 350:1 |
| 适用温度 | 密封面 |
| PTFE≤150℃、 RTFE≤180℃ 、PPL≤300℃、 硬密封≤450℃ |
| 配置执行机构 | 可配GT、AT、AR、AW系列单双作用气动执行器 |
| 控制方式 | 开关两位控制、4-20mA模拟量控制 |
五、高平台气动球阀 执行器参数
| 执行器型号 | GT、AT、AR、AW系列单双作用气动执行器 |
|---|
| 供气压力 | 0.4~0.7MPa |
| 气源接口 | G1/4"、G1/8"、G3/8"、G1/2" |
| 环境温度 | -30~+70℃ |
| 作用形式 | 单作用执行机构:气关式(B)--失气时阀位开(FO);气开式(K)--失气时阀位关(FC) 双作用执行机构:气关式(B)--失气时阀位保持(FL);气开式(K)-- 失气时阀位保持(FL) |
六、高平台气动球阀 性能规范
| 设计标准 | GB/T12237 |
|---|
| 结构长度 | GB/T12221 |
| 连接法兰 | GB/T911、JB/T79 |
| 试验和检验 | GB/T13927 、 JB/T9092 |
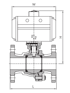
七、高平台气动球阀 结构图
八、高平台气动球阀 连接尺寸
| DN | 15 | 20 | 25 | 32 | 40 | 50 | 65 | 80 | 100 | 125 | 150 | 200 |
|---|
| L | 130 | 140 | 150 | 165 | 180 | 200 | 225 | 250 | 280 | 320 | 360 | 457 |
| H | 164 | 195 | 205 | 246 | 267 | 290 | 350 | 375 | 440 | 480 | 564 | 680 |
| W | 140.5 | 158.5 | 158.5 | 210.5 | 247.5 | 268.5 | 345 | 408.5 | 437.5 | 487 | 543 | 621 |
注:由于产品改进技术创新参数可能有一定变化,公司不另行通知,请咨询公司技术部门索取新数据。
下载:上海江控阀门有限公司-产品样本-高平台气动球阀.PDF
高平台气动球阀链接:https://www.jakon.cn/list_3/435.html